田隶赉李色顺蘸剑林宋葵祯郭景坤 (中国科学院上海硅酸盐研究所,上海200050)
陶 垒 陵 (I-海无线电二十六厂,上海2,00232)
一、引 言
利用微波能在高温下烧结陶瓷,是近年来迅速发展起来的一门新技术.微波加热由于其利用材料内部介电损耗来发热的独特机理,具有许多常规加热法无法实现的优点,如节能、极快的加热速度和烧结速度、明显地改进材料显微结构及宏观性能等. 尤其在高技术精细陶瓷的发展方面,微波烧结将会有广阔的应用前景,成为向传统烧结工艺挑战的新一代烧结方法“ .
经过十多年的研究和发展,国外目前已用微渡法烧结成功多种高技术精细陶瓷如AI20 、zr02、PZT、SrTiq、B·c 和陶瓷复合材料等,井有多种不同类型的微渡装置问世. 实验室用的小功率微波装置,多数采用单模可调式腔体,如TEmh TMm、TE…和TE 等. 工业性生产微波烧结装置目前尚处于探索和研制阶段,但最近已有商品大功率微波装置进人市场的报道. 我们在吸收和消化国外近十年来在微波烧结技术方面的精华的基础上加以改进,研制成功了一台小功率微波烧结装置. 初步的运行和测试表明, 其主要功能和性能完全满足陶瓷快速烧结的要求. 本文将扼要地介绍试制的概况和初步试验的结果.
二、微波烧结装置的结构和特点
图1是所研制的微波烧结装置的系统原理图. 系统中高温烧结陶瓷的主体部分,采用了TE。 矩形谐振腔. 这是目前国际上(包括作者之一参与的)发展最为成熟、应用最广泛的一种单模式、高效可调式腔体. 其主要优点是结构简单、易调节、易控制、电场和温度分布较均匀,运行稳定可靠, 因而特别适宜于实验室中进行不同陶瓷材料的烧结研究. 另一方面,经过多年研究,该腔体的电磁场计算、材料烧结时的工艺参数和烧结特征,都已有较详尽、系统的理论基础和数据积累 】,因而有利于在学术上进行理论与实践相结合的深人探讨. 基于上述原因,这种腔体成为我们拟定方案时最佳选择. 图2示意地给出了这种腔体的主要结构. 由于烧结过程中材料性能随温度有变化,因而系统的谐振频率和阻抗都随之变化,为了使腔体连续谐振和保持试样的持续高温,需要通过调节短路活塞和位置及耦合孔的几何尺寸来实现.图

图1 实验室小功率擞放烧结陶瓷系统原理圈
1中的功率源工作频率为2450 MHz,功率从0—800 w 连续可调. 微波源出口接一个2 kW

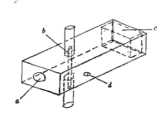
图2 TE a,矩形谐振睦结构 a-耦台孔; b.试# ; c.短路括塞; d.温度测试孔
毅的铁氧体环形器,其功能是隔离反射波以保护磁控管. 反射能量由另一端水负载吸收,环形器的出口接上一个定向耦台器,用以监视入射和反射能量的变化,定性地判断系统的谐振和耦台情况. 为了定量地测得谐振腔内阻抗、相位和驻波系数动态变化. 以分析微波电场对烧结特性的影响,在定向耦合器和矩形谐振腔之间§【人了一段装有四个探针的开槽波导测量线,由四探针测量波导内驻波电场分布的信号,输入到一个信号微处理器进行有关电场矢量的运算,动态地测出有关系统内阻抗、相位和驻波系数,并显示在记录仪的SMITH 图上.操作者可以根据记录指针在SMITH 图上的运动轨迹来判断烧结过程中谐振腔的驻波系数和耦台度,以调节谐振腔来保持最佳烧结的工艺条件.除了谐振腔的频率和阻抗的调试以外,饶结的表面温度是通过TEt 腔体两侧的观察小孔,由一台光导纤维红外辐射温度计来测量的. 光导纤维测温的优点是它能灵敏地聚焦在试样小面积上并不受电磁场的干扰. 试样的烧结温度由调节敞渡源的功率太小来实现. 为了改进烧结过程中试样温度的均匀性,试样固定在一个由同步马达和步进电机驱动的工作台上.烧结时试样可沿其轴线旋转,同时由数控驱动的步进电机来灵活地控制试样垂直通过微波腔体时的速度.
以上简要地介绍了整个烧结系统的结构和特点,有关研制中更详尽的原理、设计和调试的技术细节,我们将男有专文论述.
三、初步运行和烧结试验结果
系统经过全面调试后已投入正常运行. 该装置的主要性能已经达到国外同类装置的指

标,并有多处改进. 微波源的最大有效功率可达830 W. 定向耦台器、水负载和烧结腔体在满负载下长期工作均很正常. 对 α—AI:O,, β一Al:O;和ZrO。的初步烧结试验亦很成功,一般加热升温速率超过500'~/min,最高温度可达2000~C以上. 图3给出了a—Al O,烧结的温升曲线,并在图4示出了烧结致密的一Al 烧结体的显散结构(扫描电镜),试样密度达97弼以上. 由图4可见,由于微波加热的超高速烧结,获得晶粒度小于l m 的细显微结构. 对其它多种不同精细陶瓷更进一步的系统的微波烧结试验还在进行之中.
致谢:本课题在研制过程中得到严东生教授的关杯、指导和帮助;同时也得到华东师范大学陈涵奎、昊鼎,南京898厂汪旭,上海科技太学施肖波等同志的太力协助,在此一并表示感谢.
